來源:廣東速達進出口 編輯:冷凍雞翅進口報關流程 時間:2021年09月08日 15:54閱覽:次
了解一下,冷凍雞翅進口報關流程是這樣的;冷凍雞翅進口報關流程|進口冷凍雞翅尖報關代理|雞翅中進口代理報關行|冷凍雞翅根進口清關公司。
廣東速達供應鏈是一家為企業提供專業的“全球進口一條龍服務”的物流供應鏈服務公司。從2004年公司成立起,經過15年的發展,目前在擁有10家公司,覆蓋沿海國內的主要口岸,從華北的大連港一直延伸到華南的深圳港。
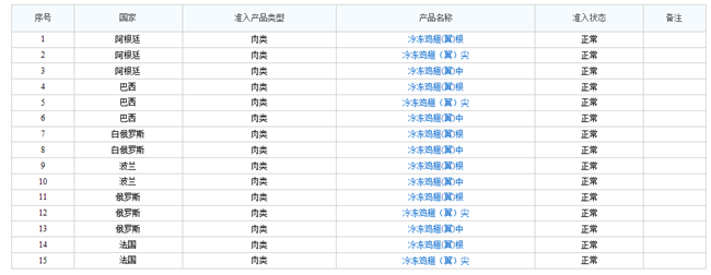
冷凍雞翅允許進口的國家有:阿根廷、巴西、白俄羅斯、波蘭、俄羅斯、法國、泰國、智利,其中最常進口的是“阿根廷、巴西、俄羅斯、智利”。(如需了解冷凍雞肉、雞爪等進口準許國家,您可以提供貨物的海關編碼給我們幫您查詢)。


冷凍雞翅進口報關
作為全球的雞肉消費大國,禽肉類進口逐年上升,那么禽肉類進口商如何從國外進口,需要哪些資質才能進口,進口報關流程是怎樣的?以下是冷凍雞翅進口報關流程,希望能幫到您!

冷凍雞翅進口報關
冷凍禽肉類進口報關,國內進口商的企業資質要求:
(1)進出口經營權;
(2)肉類的經營范圍及肉類資質;
(3)進口食品進出口商備案企業備案(進口辦理);
(4)海關企業年報申報、海關無紙化簽約、電子委托申報簽約(進口辦理)
冷凍雞翅進口報關流程:
簽訂合同--食品中文標簽審核--備貨 --準備冷凍雞翅進口報關單證--發貨到港口--換單--報檢--報關--交稅--貼標簽 -- 申請商檢查驗---貨物放行
關于冷凍雞爪進口報關:
優質凍雞爪主要以巴西、阿根廷、智利、澳大利亞為主,品質好,個頭比較大。隨著中智、中澳自貿協定實 施,進口冷凍肉類關稅逐步下調,進口成本更低。冷凍雞翅進口報關專業代理肉類食品一般貿易進口報關,為企業提供各種冷凍肉類產品進口代理服務,冷凍牛肉、冷凍羊肉冷凍雞腳、冷凍雞爪、冷凍雞翅、冷凍雞腿等,我司在肉類凍柜進口清關方面擁多年進口報關經驗,凍品進口報關流程非常熟悉,歡迎咨詢我們!
冷凍雞翅等凍品進口報關有些單證我司可以代辦,咨詢了解方式:點擊我司網站網頁右下角的咨詢框【在線咨詢】;或者撥打我司全國免費咨詢電話(注:如是下班時間,可給我們留言,我們的客服小姐姐會在看到的第一時間給您致電!上班時間:8:45-18:00)
瀏覽過本文的還看了: 冷凍雞翅進口報關流程